R 课堂:全面剖析 IGBT IPM 热关断保护功能(TSD)

出处:网络 发布于:2025-05-13 16:00:32

  在电力电子设备的运行过程中,温度控制是保障设备稳定性和可靠性的关键因素之一。IGBT IPM(Intelligent Power Module,智能功率模块)作为一种重要的电力电子器件,其热关断保护功能对于防止设备因过热而损坏至关重要。本文将以 R 课堂的形式,详细介绍 IGBT IPM 的热关断保护功能(TSD)。
  关键要点概述
  BM6337xS 系列配备了可监控 LVIC(Low Side Gate Driver,低边栅极驱动器)温度的热关断电路。当 LVIC 的 Tj(结温)达到规定温度以上时,热关断电路将启动,会关断下桥臂各相的 IGBT,并输出 FO 信号。需要注意的是,在 TSD 已启动的情况下,由于 IGBT 的 Tj 已超过 150°C 的额定值,因此需要更换 IPM。同时,该功能监控的 Tj 为 LVIC 芯片的 Tj,无法跟上 IGBT 芯片的急剧温升,所以在 Tj 急剧上升的情况下,该功能无法有效发挥作用。
  IGBT IPM 热关断保护功能适用范围
  本文所介绍的热关断保护功能仅适用于 BM6337xS 系列,BM6357xS 系列未配备该功能。此外,IGBT IPM 还具备其他功能,如短路电流保护功能(SCP)、控制电源欠压误动作防止功能(UVLO)、模拟温度输出功能(VOT)、错误输出功能(FO)以及控制输入(HINU、HINV、HINW、LINU、LINV、LINW)等。
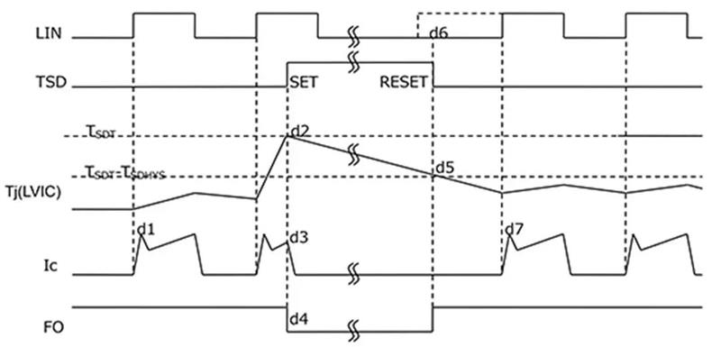
  热关断保护功能(TSD)详细解析

  BM6337xS 系列的热关断电路能够实时监控 LVIC 的温度。当 LVIC 的温度达到规定温度以上时,热关断电路会迅速启动,关断下桥臂各相的 IGBT,并输出 FO 信号,以此来保护设备免受过热损坏。

  热关断保护功能的工作时序
  内置于 LVIC 的 LVCC 热关断保护功能有着特定的工作时序,具体如下:
  d1:在正常工作过程中,IGBT 导通时会流过输出电流 Ic。
  d2:当 LVIC 的 Tj 上升到 TSDT 时,保护工作开始启动。
  d3:此时会关断下侧桥臂各相的 IGBT,无论 LIN 输入状态如何都会进行关断操作。
  d4:输出 FO 信号,持续时间为 180?s (Min)。当 TSD=H 期间为 180?s 以内时,直接输出 FO;当 TSD=H 期间为 180?s 以上时,在 TSD=H 的 Tj 下降至 TSDT-TSDHYS 的期间输出 FO(FO=L)。
  d5:当 LVIC 的 Tj 下降到 TSDT-TSDHYS 时,保护功能释放。
  d6:即使在 LIN=H(虚线)时被释放,直到下一个 LIN 上升沿,IGBT 仍会保持关断状态,需要通过对各相的 LIN 输入使各相逐一恢复为正常状态。

  d7:恢复正常工作,IGBT 导通,并流过输出电流 Ic。

  热量传递路径
  安装 IGBT IPM 时,IGBT 芯片产生的热量有两条传导路径。一条是经由键合线传导至 LVIC 芯片;另一条是经由芯片焊盘、封装背面的散热垫以及散热器,再回到封装树脂。
  注意事项
  如果 TSD 功能启动并输出错误信号,需要立即停止设备运行,以免出现异常状态。
  当因错误输出而停止运行时,如果是由冷却系统异常(如散热器松动或脱落、冷却风扇异常停止)引起的,则很可能会触发 TSD 并输出错误信号。此时,由于 IGBT 芯片的结温已超过 150°C 额定值,所以需要更换 IPM。
  该功能所监控的结温是低边 IGBT 栅极驱动器芯片(LVIC)的温度。需要注意的是,由于无法跟上 IGBT 芯片的急剧温升,在诸如电机堵转或过电流这类结温急剧上升的情况下,该功能将无效。
  此外,我们再来了解一下 IGBT IPM 的相关基础知识。IPM 是 “Intelligent Power Module” 的缩写,它是集成了 IGBT、MOSFET 等元器件单体(分立产品)与驱动电路、保护电路等电路的模块的统称。IGBT - IPM 是一种集成电力模块,由一个 IGBT(可控硅反激开关)和一个 IPM(智能功率模块)组成,可用于控制电机、变频器、变压器等电力电子设备,以实现高效、的控制。IGBT IPM 具有诸多优点,如减少了外部连接线和焊接点,降低了系统复杂性和潜在的故障率;由于是为特定的功率元件定制优化的,通常提供更好的电气性能,如更低的导通损耗和更快的开关速度;内置有各种保护电路,具有高可靠性等。其短路电流保护功能(SCP)是通过在 IPM 外部连接分流电阻并将电阻产生的电压反馈至 CIN 引脚电路来实现的。
关键词: IGBT

版权与免责声明

凡本网注明“出处:老太阳集团tcy8722网站电子市场网”的所有作品,版权均属于老太阳集团tcy8722网站电子市场网,转载请必须注明老太阳集团tcy8722网站电子市场网,,违反者本网将追究相关法律责任。

本网转载并注明自其它出处的作品,目的在于传递更多信息,并不代表本网赞同其观点或证实其内容的真实性,不承担此类作品侵权行为的直接责任及连带责任。其他媒体、网站或个人从本网转载时,必须保留本网注明的作品出处,并自负版权等法律责任。

如涉及作品内容、版权等问题,请在作品发表之日起一周内与本网联系,否则视为放弃相关权利。

LTV-T350S-TA1 IGBT栅极驱动光电耦合器 光纤收发器 IC芯片
广告
OEM清单文件: OEM清单文件
*公司名:
*联系人:
*手机号码:
QQ:
有效期:

扫码下载APP,
一键连接广大的电子世界。

在线人工客服

买家服务:
卖家服务:
技术客服:

0571-85317607

网站技术支持

13606545031

客服在线时间周一至周五
9:00-17:30

关注官方微信号,
第一时间获取资讯。

建议反馈

联系人:

联系方式:

按住滑块,拖拽到最右边
>>
感谢您向阿库提出的宝贵意见,您的参与是老太阳集团tcy8722网站提升服务的动力!意见一经采纳,将有感恩红包奉上哦!