在电子测量领域,数字电压表的应用十分广泛。而其技术之一 —— 模数转换,更是实现测量的关键。本文将详细介绍模数转换的原理、过程以及相关典型电路,为数字电压表的设计提供理论基础。
自然界中的诸多物理量,如压力、温度等,均为模拟量。在对这些物理量进行控制和检测时,就需要模数转换器(ADC)和数模转换器(DAC)来实现模拟信号与数字信号之间的转换。能把模拟信号转换成数字信号的电路称为模数转换器(简称 ADC),反之,能把数字信号转换为模拟信号的电路称为数模转换器(简称 DAC)。
一般情况下,ADC 是将输入电压信号转换为输出数字信号。由于数字信号本身仅表示相对大小,所以任何一个 ADC 都需要一个参考模拟量作为转换标准。常见的参考标准是可转换信号大小,输出的数字量则体现输入信号相对于参考信号的大小。
A/D 转换器要将时间和幅值都连续的模拟量,转换为时间、幅值都离散的数字量,通常要经历取样、保持、量化、编码这几个步骤。
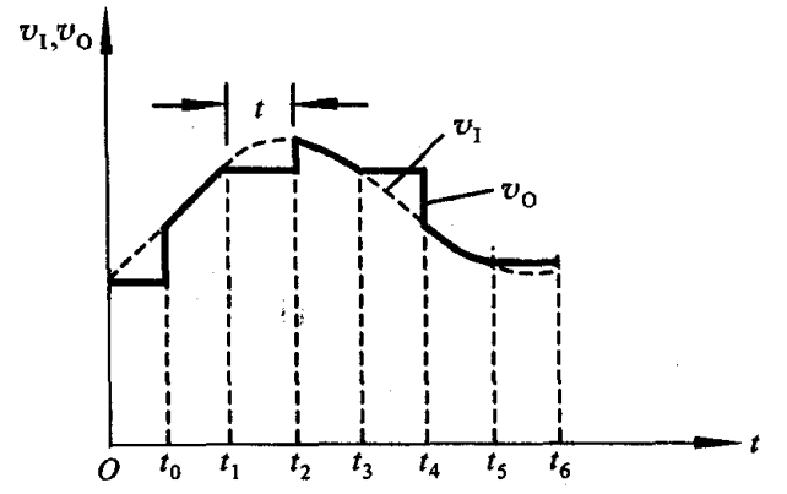
取样电路可将输入模拟量转换为时间离散的模拟量。其原理是传输门 TG 由取样信号 S (t) 控制,在 S (t) 高电平期间,TG 导通,输出信号 vo (t) 等于输入信号 vi (t);在 S (t) 低电平期间,传输门关闭,输出信号 vo (t)=0。

图 1 取样电路示意图
取样信号 S (t) 的频率越高,取得的信号经低通滤波器后越能真实地复现输入信号。取样频率需满足取样定理(即奈奎斯特采样定理),设取样信号 S (t) 的频率为 fs,输入模拟信号 vt (t) 的频率分量的频率为 fimax,则 fs 与 fimax 必须满足 fs≥2fimax,一般取 fs>2fimax。

图 2 取样电路工作波形图
一般取样和保持过程是同时完成的。取样和保持电路由输入放大器 A1、输出放大器 A2、保持电容 CH 和开关驱动电路组成,且 Av1*Av2 = 1。A1 具有较高的输入阻抗,可减小对输入信号源的影响;A2 选用有较高输入阻抗和低输出阻抗的运放,能使 CH 上所存电荷不易泄露,同时电路具有较高的带负载能力。

图 3 取样和保持电路原理图
在 t0~t1 时段开关 S 闭合,电路处于取样阶段,电容器 CH 充电,vo (t)=vi (t);t1~t2 时段为保持阶段,此期间 S 断开,若 A2 的输入阻抗足够大,且 S 为较理想的开关,可认为 CH 几乎没有放电回路,输出电压保持不变。

图 4 取样和保持电路输出波形图
量化是将取样 - 保持电路的输出表示为数量单位的整数倍,这个数量单位称为量化单位,即 1LSB。由于被取样电压是连续的,其值不一定能被量化单位整除,所以在量化过程中会存在量化误差,这属于原理误差,无法消除。A/D 转换器的位数越多,1LSB 所对应的量化单位越小,量化误差的也越小。
量化有舍尾取整法和四舍五入法两种方法。舍尾取整法是当输入电压 vi 在两个相邻的量化值之间时,取较小的量化值;四舍五入法是当 vi 的尾数不足 Δ/2 时,舍去尾数取整数,当 vi 的尾数大于或等于 Δ/2 时,则在原数上加一个 Δ。例如,将 0~1V 的模拟电压转换为 3 位二进制码,取 Δ = 1/8V,采用舍尾取整法,凡数值在 0~1/8V 之间的模拟量,都当作 0Δ;采用四舍五入量化方式,取量化单位 Δ = 2/15V,凡数值在 0~1/15V 之间的模拟电压都当作 0Δ。可以看出,舍尾取整量化方法的量化误差为 1LSB,而四舍五入量化方法的量化误差为 LSB/2,因此大多数 A/D 转换器采用四舍五入量化方法。

图 5 量化误差示意图
编码是将量化后的结果用二进制码或者其他代码表示出来的过程。例如,将 0~1V 的模拟电压转换为 3 位二进制码时,0Δ 用 000 表示,1Δ 用 001 表示,以此类推。

图 6 编码示意图
A/D 转换器按工作原理可分为直接 A/D 转换器和间接 A/D 转换器。
直接 A/D 转换器能将模拟信号直接转换为数字信号,转换速度较快。典型电路有并行比较型 A/D 转换器和逐次比较型 A/D 转换器。
间接 A/D 转换器先将模拟信号转换成某一中间量(时间或频率),然后再将中间量转换为数字量输出,速度相对较慢。典型电路有双积分型 A/D 转换器和电压频率转换型 A/D 转换器。
由于 DE10 - Standard 板卡上的 LTC2308 是逐次比较型 ADC,下面将重点介绍这种类型。
逐次比较型 A/D 转换器是直接 A/D 转换器中应用较多的一种。它的转换过程是将输入模拟信号与不同的参考电压多次比较,使转换所得的数字量在数值上逐次逼近输入模拟量。
一个 8 位逐次比较型 A/D 转换器由控制逻辑电路、数据寄存器、移位寄存器、D/A 转换器及电压比较器组成。假设输入的模拟量为 3.2V,A/D 转换器的基准电压是 5V,电路启动后,个 CP 将移位寄存器置为 10000000,该数字经数据寄存器送入 D/A 转换器。输入模拟电压 vi 首先与 10000000 所对应的电压 VREF/2 相比较,如果 vi≥VREF/2,则比较器输出为 1;否则为 0。第二个 CP 使移位寄存器为 01000000,后续依此类推,逐次比较得到输出数字量。

图 7 8 位逐次比较型 A/D 转换器框图

图 8 8 位逐次比较型 AD 转换波形图
A/D 转换器的分辨率代表其对输入信号的分辨能力。在输入电压一定时,输出位数越多,量化单位越小,分辨率越高。从理论上讲,n 位输入电压的值为满量程输入的 1/2n。例如 12 位 ADC,基准电压 5V,其分辨率 = 5V/4096≈1.22mV。
转换时间是指 A/D 转换器从转换控制信号到来开始,到输出端得到稳定的数字信号所经过的时间。
综上所述,模数转换在数字电压表设计中起着至关重要的作用。了解模数转换的原理、过程和典型电路,掌握其主要指标,对于设计出高精度、高性能的数字电压表具有重要意义。同时,随着电子技术的不断发展,模数转换技术也在不断创新和完善,为电子测量领域带来更多的可能性。